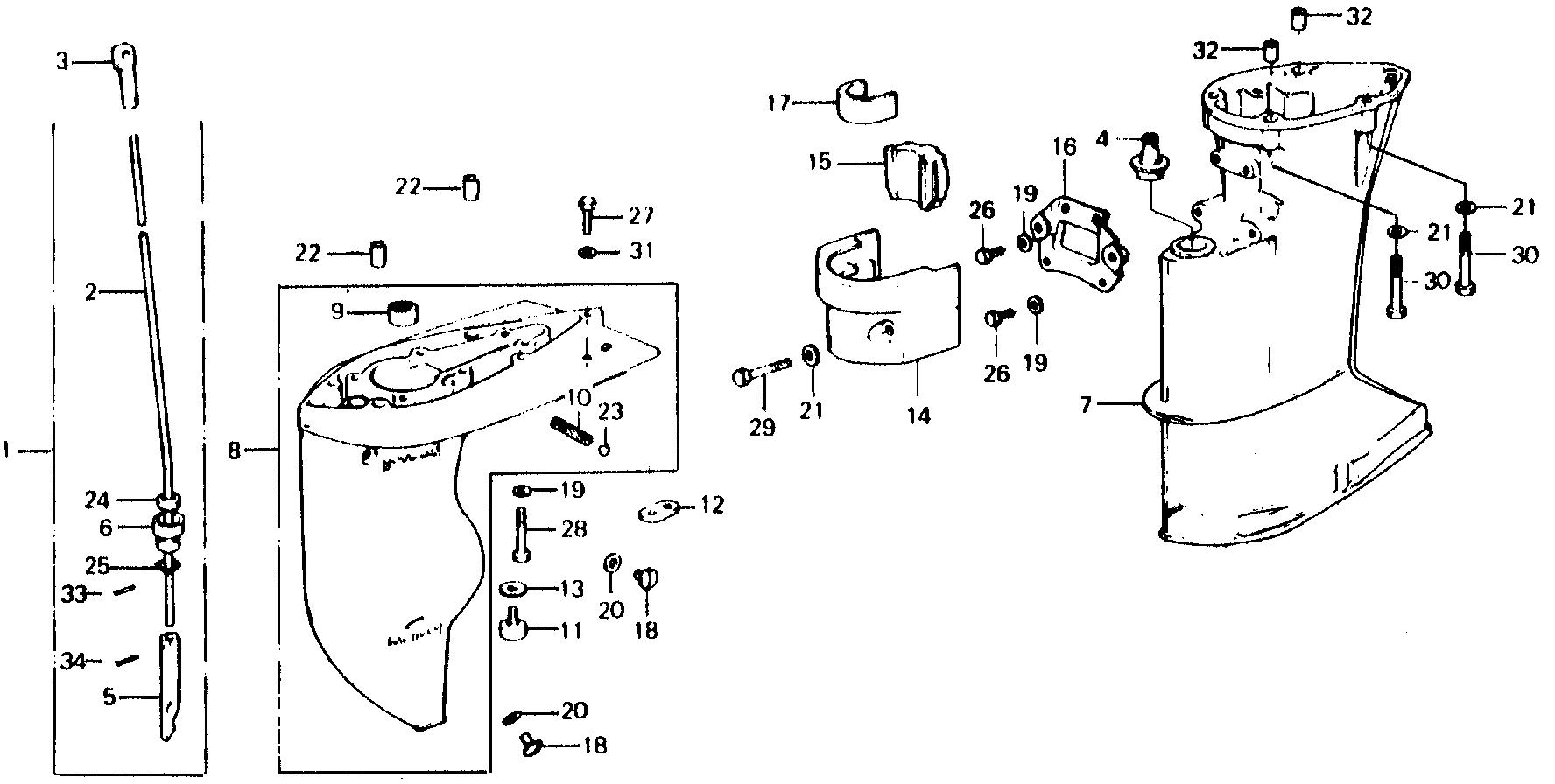
Ref No
Part Number
Description
Serial Range
Qty
Price
Ref No 1
Part Number 24310-881-010
Description ROD, GEARSHIFT (S)
Serial Range 1000001 - 9999999
Ref No 2
Part Number 24311-881-300
Description ROD, GEARSHIFT (S)
Serial Range 1000001 - 9999999
Qty
Price $53.22
Add To Cart
Ref No 3
Part Number 24312-881-000
Description JOINT, GEARSHIFT ROD
Serial Range 1000001 - 9999999
Qty
Price $34.44
Add To Cart
Ref No 4
Part Number 24313-921-003
Description GROMMET, ROD (ARAI)
Serial Range 1000001 - 9999999
Ref No 5
Part Number 24341-ZV4-300
Description ROD, PUSH
Serial Range 1000001 - 9999999
Qty
Price $29.32
Add To Cart
Ref No 6
Part Number 24343-881-300
Description HOLDER, SEAL
Serial Range 1000001 - 9999999
Ref No 7
Part Number 40201-881-000ZA
Description CASE, EXTENSION *B9* (S) (ATLANTIS BLUE) (NOT AVAILABLE)
Serial Range 1000001 - 9999999
Ref No 8
Part Number 41100-881-010ZA
Description CASE, GEAR *B9* (ATLANTIS BLUE)
Serial Range 1204708 - 9999999
Ref No 9
Part Number 41103-935-003
Description BEARING, NEEDLE (15X21X16)
Serial Range 1204967 - 9999999
Qty
Price $13.56
Add To Cart
Ref No 10
Part Number 41104-921-320
Description SCREEN, WATER
Serial Range 1000001 - 9999999
Ref No 12
Part Number 41106-935-812
Description METAL, ANODE
Serial Range 1204708 - 9999999
Qty
Price $12.96
Add To Cart
Ref No 14
Part Number 50121-881-000ZA
Description HOUSING, SETTING (LOWER) *B9* (ATLANTIS BLUE) (NOT AVAILABLE)
Serial Range 1204708 - 9999999
Ref No 15
Part Number 50151-881-000
Description RUBBER A, MOUNTING (LOWER)
Serial Range 1000001 - 9999999
Ref No 16
Part Number 50152-881-000
Description PLATE, MOUNTING (LOWER)
Serial Range 1000001 - 9999999
Ref No 17
Part Number 50153-881-000
Description RUBBER B, MOUNTING (LOWER)
Serial Range 1000001 - 9999999
Ref No 18
Part Number 90105-921-000
Description BOLT, OIL CHECK
Serial Range 1000001 - 9999999
Ref No 19
Part Number 90504-921-010
Description WASHER, PLAIN (6MM)
Serial Range 1000001 - 9999999
Qty
Price $1.68
Add To Cart
Ref No 20
Part Number 90507-921-000
Description WASHER, NYLON (8MM)
Serial Range 1000001 - 9999999
Ref No 21
Part Number 90518-921-000
Description WASHER, PLAIN (8MM)
Serial Range 1000001 - 9999999
Qty
Price $1.60
Add To Cart
Ref No 22
Part Number 90702-881-000
Description PIN, DOWEL (8X10)
Serial Range 1000001 - 9999999
Ref No 23
Part Number 90855-921-300
Description PLUG, SEALING (10MM)
Serial Range 1000001 - 9999999
Qty
Price $3.64
Add To Cart
Ref No 24
Part Number 91253-921-003
Description SEAL, WATER (6MM)
Serial Range 1000001 - 9999999
Qty
Price $15.24
Add To Cart
Ref No 25
Part Number 91303-377-000
Description O-RING (13.8X2.5)
Serial Range 1000001 - 9999999
Qty
Price $4.58
Add To Cart
Ref No 26
Part Number 92101-06012-4J
Description BOLT, HEX. (6X12)
Serial Range 1000001 - 9999999
Qty
Price $2.50
Add To Cart
Ref No 27
Part Number 92101-06016-0B
Description BOLT, HEX. (6X16)
Serial Range 1204707 - 9999999
Qty
Price $1.58
Add To Cart
Ref No 28
Part Number 92000-06040-4J
Description BOLT, HEX. (6X40)
Serial Range 1204967 - 9999999
Ref No 29
Part Number 92101-08040-4J
Description BOLT, HEX. (8X40)
Serial Range 1000001 - 9999999
Ref No 30
Part Number 92101-08050-4J
Description BOLT, HEX. (8X50)
Serial Range 1000001 - 9999999
Qty
Price $6.32
Add To Cart
Ref No 31
Part Number 94101-06200
Description WASHER, PLAIN (6MM)
Serial Range 1204708 - 9999999
Qty
Price $0.84
Add To Cart
Ref No 32
Part Number 94301-10140
Description PIN A, DOWEL (10X14)
Serial Range 1204967 - 9999999
Qty
Price $3.00
Add To Cart
Ref No 33
Part Number 94305-25122
Description PIN, SPRING (2.5X12)
Serial Range 1000001 - 9999999
Qty
Price $2.12
Add To Cart
Ref No 34
Part Number 96220-25118
Description ROLLER (2.5X11.8)
Serial Range 1000001 - 9999999
Qty
Price $0.82
Add To Cart